СЧИТАЮ, что это - ИДЕАЛЬНЫЙ винт, Эталон. Он соответствует - всем моим Опусам посвящённым теме Винтов.
Соответствует - всем моим винтам.
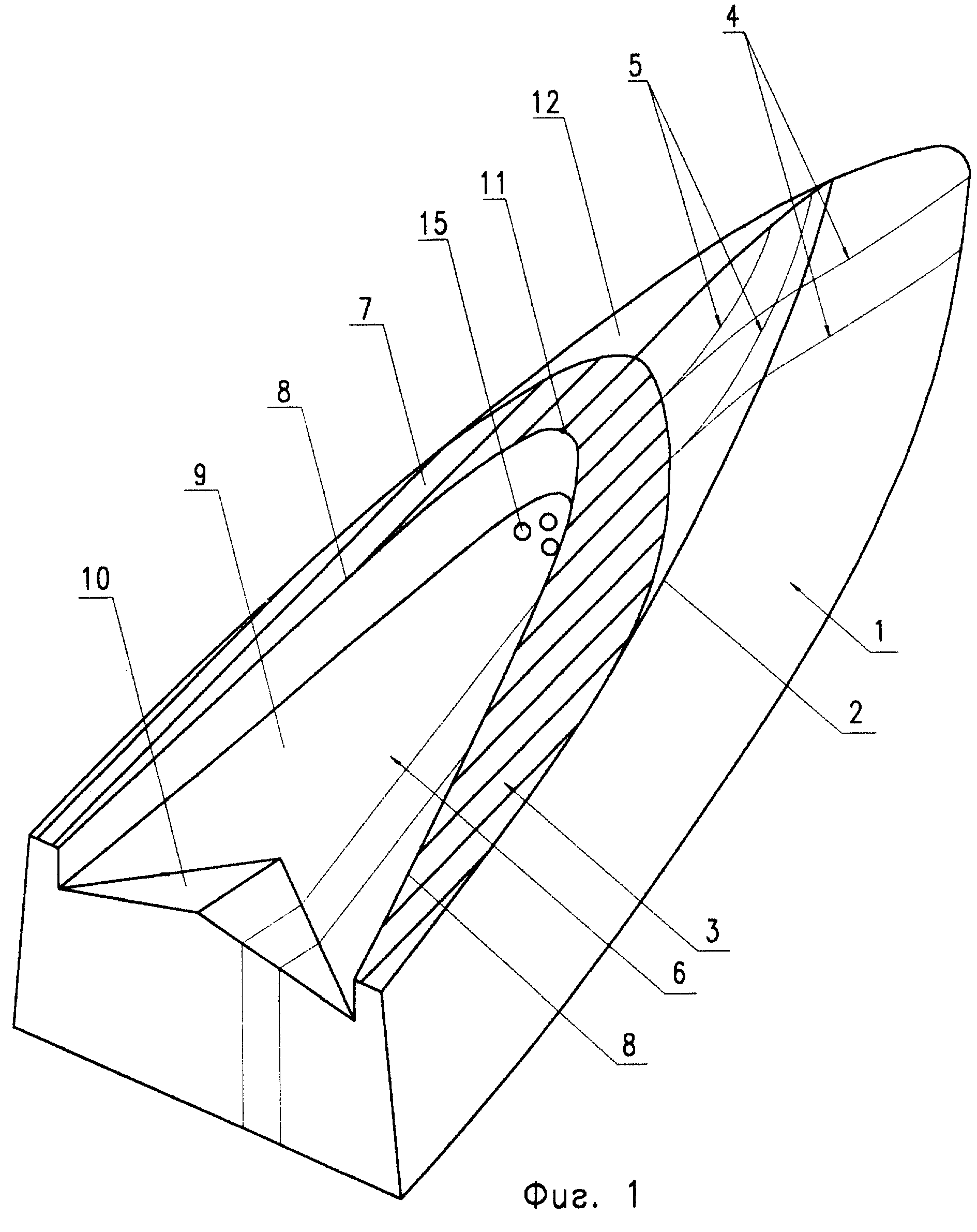
Ясно, что является Базой или Основой -для Всех Тюнинговых решений продвинутых самодельщиков или мастеров.
Алгоритм.
Берёшь за Основу и применяешь Свои наработки и чтобы в этих Наработках - не Было ни единой Глупости" (Необоснованного мероприятия).
На следующем фото - Ступица известного мастера. Найдите два отличия))) ))).



