viktorr писал(а):Раньше утра -не вылезешь.
Это точно,я зимой еще на работе кучу пересмотрел
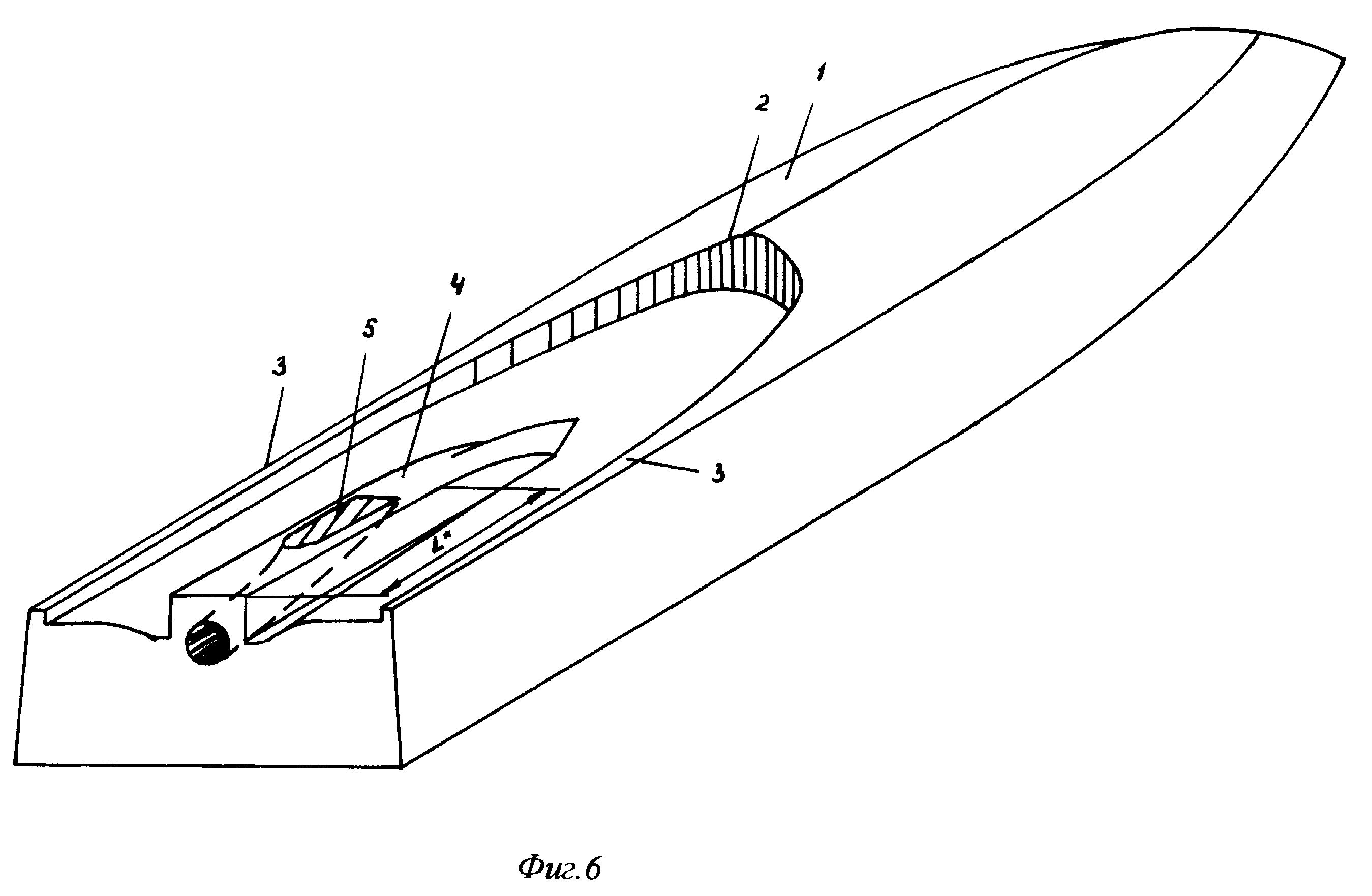
редан только обратной стреловидности, но думаю не критично
и способ снизить контакт с водой вокруг гидролыжы, (в моем случае вариант выше, чтоб днище не кромсать)
в общих чертах концепция понятна, что-то доводить все равно придется.
Из всей информации пока вытекают следующие вопросы:
гидролыжа от реддана или можно покороче (в принципе можно будет если что продлить до редана)
на сколько должна выступать и какой формы (на мой взгляд плоская как на том прогрессе)
и какой ДВС и водомет (относительно дешево и малый вес honda L15 (100кг всего вроде) и 155 водомет, маловаты будут?) есть у кого опыт установки на амур или прогресс небольшых водометов?
Можно сначала сварить выносной транец (там есть куда прикрутить временно) и попробовать под ПЛМ покатать, главное мотор найти у кого-нить и не утопить



